Перейти к основному содержанию

Термоядерный реактор от Lockheed Martin. Заявка на победу

Время потенциально революционных технологий на ПиМ. Термоядерный реактор от Lockheed Martin. Почему это круто
Источник

Примечание редакции. Читатель прислал нам перевод материала The Drive о новой, потенциально революционной технологии, способной резко изменить мировую энергетику. Мы не смогли пройти мимо.

Впервые объявляя о проекте, компания заявила, что может представить рабочий прототип революционного источника энергии ещё в 2019 году.
Джосеф Тревитник, 26 марта 2018

Lockheed Martin втихую получил патент на потенциально революционный компактный термоядерный реактор или CFR (Compact Fusion Reactor). Если этот проект пойдёт по плану, компания сможет представить примерно в течение следующего года прототип системы размером всего лишь со стандартный грузовой контейнер для перевозок, но способной снабжать энергией авианосец класса «Нимиц» или 80000 домов.

Патент на возможную реализацию части системы удержания в ограниченном объёме высокотемпературной плазмы или варианты её осуществления датирован 15 февраля 2018 года. Компания со штаб-квартирой в штате Мэриленд подала предварительную заявку 3 апреля 2013 года и окончательную — почти год спустя. Наш добрый друг Стивен Тримбл, начальник Американского бюро Flightglobal, впоследствии заметил и обнародовал для всех его основные детали.

В 2014 году компания наделала шуму, объявив, что они вообще работали над этим устройством в Skunk Works, исследовательском департаменте компании в Палмдейле, штат Калифорния. В то время д-р Томас Макгуайр, глава проекта Compact Fusion в Skunk Works, сказал, что целью было создание рабочего реактора через пять лет и серийной системы — в течение 10 лет.

«Я изучал это в аспирантуре [в Массачусетском технологическом институте], где, в рамках исследования НАСА, мне была поставлена задача о том, как можно быстро добраться до Марса», — сказал Макгуайр в 2014 году в интервью Aviation Week. «Я начал изучать все идеи, которые были опубликованы. Я соединил все эти идеи во что-то новое, пытаясь заменить недостатки в одних преимуществами в других».

С 1920-х годов учёные работали над концепциями термоядерных реакторов, но к сожалению, большинство функционирующих образцов были неэффективными и крупногабаритными — как правило, размером с небольшое здание, — а также исключительно дорогими. Например, Международный термоядерный экспериментальный реактор, создаваемый международным консорциумом во Франции, завершение которого ожидают в 2021 году, имеет общую стоимость в 50 миллиардов долларов и вес около 23000 тонн.

Это в значительной степени относит подобные реакторы к экспериментальным, а не практическим устройствам, а удержание внутри закрытого сосуда термоядерной реакции плазмы — того же самого процесса, что происходит внутри Солнца или других звёзд — является главной проблемой. В отличие от ядерного деления, где атомы расщепляются, выделяя энергию, реакция ядерного синтеза включает нагревание газообразного топлива до того момента, когда его атомная структура разрушается от давления, а некоторые из частиц сливаются в более тяжёлое ядро.

Согласно Макгуайру, этот процесс включает в себя высвобождение огромного количества энергии, в миллион раз превышающее типичную химическую реакцию, например, сжигание ископаемого топлива. Но для этого нужно внутри сосуда удержать газ, который находится в высокоэнергетическом состоянии плазмы, в течение длительного периода времени при температуре в сотни миллионов градусов Фаренгейта.

Это, как правило, ограничивает возможности применения реакторов, даже больших, из-за опасений, что они могут взорваться в случае аварии. В интервью 2014 года Aviation Week Макгуайр рассказал об использовании токамаков, изобретённых советскими учёными в 1950-х годах, в качестве примера, заявив, что низкий предел магнитного давления позволяет безопасно использовать подобные реакторы.

Схема конструкции реактора Макгуайра

С помощью конструкции реактора Макгуайра, как было кратко объяснено в статье, по крайней мере теоретически, CFR должен бы был избежать следующих проблем:

«Проблема с токамаками заключается в том, что« они могут удерживать только определённое количество плазмы, и мы называем это бета-предел», — говорит Макгуайр. Измеренный как отношение давления плазмы к магнитному давлению, бета-предел среднего токамака является низким примерно «5% давления в закрытом сосуде или около того», — говорит он.

Сравнивая тор токамака с велосипедной шиной, Макгуайр добавляет: «Если шину слишком сильно накачать, в конечном итоге ограничивающая её объём покрышка лопнет — так что, для обеспечения безопасности процесс не приближают к давлению бета-предела».

CFR избегает этих проблем, радикально изменив подход к удержанию плазмы в сосуде. Вместо удержания плазмы внутри трубчатых колец, серия сверхпроводящих катушек создаёт новую геометрию магнитного поля, в которой плазма удерживается в более широких пределах всей реакторной камеры. Сверхпроводящие магниты внутри катушек генерируют магнитное поле вокруг внешней границы камеры. «Так что в нашем случае, вместо того чтобы велосипедная шина расширялась наружу, у нас есть нечто похожее на оболочку, которая расширяется в более прочную стену», — говорит Макгуайр. Поэтому система регулируется самонастраивающимся механизмом обратной связи, в результате чего чем дальше расширяется плазма, тем сильнее становится ограничивающее магнитное поле, сдерживающее её. Ожидается, что CFR будет иметь бета-предел, близкий к единице. «Мы должны выйти на 100% или больше», — добавляет он.

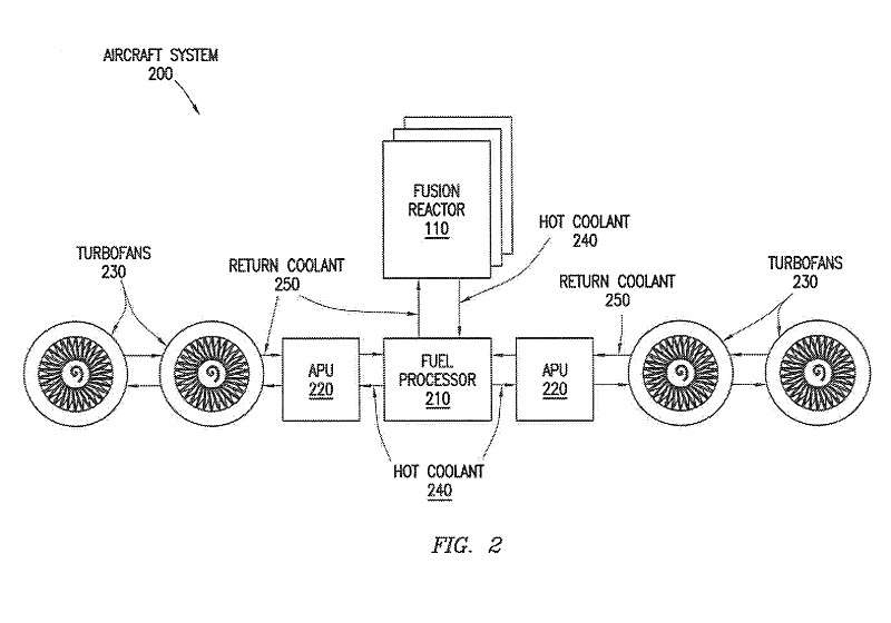
Если система заработает, как ожидается, трудно переоценить, насколько резко это может изменить не только будущее военного оборудования, но и саму природу человеческого существования. По оценке Lockheed Martin, при потреблении примерно 25 фунтов топлива — смеси изотопов водорода, дейтерия и трития — условный реактор сможет работать целый год без остановки. В течение этого периода устройство сможет генерировать постоянную мощность в 100 мегаватт.

Согласно веб-сайту компании, посвящённому CFR, реактор может быть достаточно мощным, чтобы управлять авианосцем или самолётом размера C-5 Galaxy, обеспечивать электроэнергией города с населением от 50 до 100000 человек и, возможно, даже ускорить путешествие на Марс. В каждом случае компактный реактор заменит большие обычные топливные системы или традиционные реакторы деления, уменьшая вес и габариты. Это, в свою очередь, может создать пространство для дополнительных бортовых систем или другой полезной нагрузки, включая персонал, материальные средства, или же обеспечить более компактный размер транспортного средства.

Внешняя форма предлагаемой конструкции термоядерного реактора из недавно утверждённого патента

Для авиационных применений, в зависимости от размера реактора, система может иметь возможность неограниченного радиуса полёта на протяжении всего жизненного цикла самолёта. Ограничениями будут являться только потребность в продовольствии, воде и других системах жизнеобеспечения для экипажа. Высотные беспилотные летательные аппараты, способные оставаться в полёте на высоте в течение нескольких месяцев или даже лет, могут заменить спутники и другую инфраструктуру ретрансляции связи как для военных, так и для гражданских применений.

Это также могло бы привести к системам постоянного наблюдения за широкими географическими областями, где в противном случае было бы трудно контролировать ситуацию с воздуха, например, на огромных просторах Тихого океана, более или менее неограниченно во времени, что может быть полезно для задач, варьирующихся от отслеживания потенциальных движений противника до наблюдения за изменениями в популяциях животных или температурой воды.

Те же преимущества могут быть применимы к транспортным средствам на суше, на судах в море или в космическом корабле, обеспечивая почти неограниченную мощность в компактной форме, позволяя осуществлять операции на больших просторах, во многих случаях эффективно устраняя тиранию расстояния. Опять же, для военных применений беспилотные наземные транспортные средства или корабли могли бы патрулировать неопределённо долгое время далеко от традиционных логистических цепочек, а спутники могли бы вести долгосрочную и ресурсоёмкую деятельность без необходимости в громоздких и потенциально опасных атомных реакторах, построенных на расщеплении.

Схема условного двигателя и реактора на четырёхмоторном реактивном самолёте с использованием CFR из патента

В этом, пожалуй, самые большие потенциальные преимущества ядерного синтеза перед делением. Он не производит выбросов, опасных для озонового слоя, и если происходит отказ, это не создаёт и близко угрозу крупномасштабного радиологического инцидента, как в традиционных реакторах. Как дейтерий, так и тритий обычно встречаются в ряде обычных коммерческих применений и относительно безвредны в низких дозах. Небольшое количество топлива, необходимое для запуска реактора ядерного синтеза, по своей сути уменьшает вероятность того, что утечка загрязнит большую территорию в случае аварии.

И поскольку термоядерный реактор не нуждается в очищенном расщепляющемся материале, его гораздо труднее использовать в качестве исходного объекта для программы ядерного оружия. Это, в свою очередь, может сделать его более легко экспортируемым и эффективным источником энергии, который можно использовать в любой точке мира для обеспечения надёжной электроэнергией больниц, школ, опреснительных установок и других важных, но часто страдающих от недостатка энергии элементов гражданской инфраструктуры.

Топливо также является обильным и относительно легко добываемым, поскольку морская вода обеспечивает почти неограниченный источник дейтерия, в то время как есть готовые источники лития, чтобы обеспечить возможность для учёных «разводить» тритий. Отходы гораздо легче обрабатывать, чем отходы традиционных реакторов деления, а материалы остаются опасно радиоактивными в течение сотен, а не тысяч лет.

Система работает, по-прежнему вырабатывая тепло и используя эту энергию для вращения турбины, производящей электроэнергию. А это означает, что Lockheed Martin мог бы предложить относительно лёгкую замену существующих источников топлива на силовых установках электростанций, использующих уголь, нефть или традиционные ядерные реакторы. И в чрезвычайной ситуации, например, в результате большого стихийного бедствия, реакторы, смонтированные на грузовиках, могли бы быстро восстановить энергопитание для целых городов.

Конечно, пока неясно, станет ли реактор синтеза Lockheed Martin реальностью. Многие другие компании и учреждения уже почти столетие безуспешно пытались создать работоспособную установку.

С одной стороны, корпорация, получающая патент, не обязательно активно развивает технологию, описанную в документе. Кроме того, с момента шумихи в СМИ в 2014 году Skunk Works очень мало рассказывал об этом проекте за пределами сообщества физики плазмы. Правительство США также оставляет за собой право засекречивать патенты, которые, по его мнению, могут представлять угрозу национальной безопасности, если их опубликовать. Поэтому тот факт, что этот патент не засекретили, также может ставить под сомнение зрелость системы с точки зрения её практического применения.

Тем не менее, то, что Skunk Works продолжало заниматься патентным процессом в течение последних четырёх лет, похоже, также указывает на то, что они действительно продвигают программу, по крайней мере до некоторой степени. У этого легендарного подразделения определённо есть внушительная родословная, когда дело доходит до передовых проектов исследований и разработок. Они также были достаточно уверены в проекте четыре года назад, чтобы дать интервью и предоставить конкретные сведения об основах конструкции реактора, предполагаемом времени завершения и общих целях программы, что свидетельствует о серьёзной работе.

Очень рудиментарные описания потенциальных приложений для CFR Lockheed Martin из патента

Учитывая пятилетний промежуток времени, объявленный Макгуайром в 2014 году как план для создания работоспособного прототипа, возможно, нам предстоит ещё одно крупное заявление от Lockheed Martin в ближайшем будущем.

Перевод – Old Fart